期刊详情
查看往期
期刊目录
2021年05期
封面简介 |
巴拿马和中国续签海运协定
巴拿马海事局(AMP) 协同巴拿马共和国外交部,共同处理巴拿马共和国与中华人民共和国海运协定的续签事宜。该续签协定于2021年7月20日开始生效。 两国续签的海运协定进行了升级,有效期从原来的3年延长至5年,这一举措加强了缔约双方的商业关系,加强了船舶登记处对其用户进入中华人民共和国港口的承诺。对于在船上使用巴拿马国旗的船舶所有人而言,这也体现了一系列优势,例如: 1.采取适当措施,便利和加快
业界看点 |
新“海上交通安全法”中船长的法律责任
摘 要:《中华人民共和国海上交通安全法》(以下简称“海安法”)自1984年1月1日生效施行以来,曾于2016年修订一次。随着改革开放日益深化和经济社会快速发展,该法中有关内容已不能适应海运事业发展和海上交通安全管理的新形势、新要求,亟待修改完善。2021年修订的“海安法”,经征询意见后于同年4月29日第十三届全国人民代表大会常务委员会第二十八次会议审议通过,自2021年9月1日起施行。文章结合船
业界看点 |
VTS服务上海自贸临港新片区 发展方向浅析
摘 要:中国(上海)自由贸易试验区临港新片区的设立,是开放的新扩大、改革的新进展。VTS作为海事监管部门,要更好地为新片区建设保驾护航,需要在便利运输、便利贸易、便利服务和高效监管方面改革创新,主动融入和服务临港新片区发展。本文首先介绍了上海自由贸易试验区临港新片区概况及VTS在新片区建设中的定位和作用,然后分析了VTS在新片区建设中的发展方向,提出相关的建议并简述实施路径。 关键词:新片区;
文化博览 |
400余件“泰兴”号出水文物在 中国航海博物馆重放异彩
“泰兴”号沉船被誉为东方的“泰坦尼克”号,是目前考古发现最大的中国木帆船。其400余件出水文物自2021年8月24日起,在中国航海博物馆重放异彩。 穿越“泰兴”号沉浮200年,观众从“茫茫探海舶”展区起步,探究“启航·触礁”“探险·打捞”“拍卖·回购”“研究·复原”等四个部分,领略“泰兴”号前世今生。 这里展呈“泰兴”号沉船复原模型、航海罗盘和针路簿等古代航海工具,还展示了丰富的“泰兴”号沉船
文化博览 |
近代上海民营航运与码头岸线探究
中国航海博物馆收藏了上海大达轮步公司码头平面图(见图1)。该图呈规整的正方形,暗黄色纸质,以铅笔、红笔绘制、毛笔题识,构图简洁明了。这是近代民营航运企业上海大达轮步公司在十六铺购地建设大达码头时,近代中国民资船舶修造厂——求新机器轮船制造厂为其绘制的平面规划图。该图不仅承载了以上海大达轮步公司为代表的近代中国民营内河航运企业的发展历史,而且反映了二十世纪初近代航运背景下上海十六铺码头的变迁图景。
科普舱 |
我国首次500 m饱和潜水 陆基载人实验圆满成功
2021年8月31日,交通运输部举行“护佑生命70载 建功碧海新时代”专题新闻发布会。交通运输部救助打捞局局长王雷表示,在2014年313.5 m作业的基础上,经过7年的艰辛攻关,上海打捞局于近期成功完成了我国首次500 m饱和潜水陆基载人实验。 5月22日,上海打捞局9名饱和潜水员进舱实验。5月27日,舱内加压至500 m,9名饱和潜水员在51个大气压的高压环境下,共停留176 h,开展完成了
海事法苑 |
行政处罚程序中听证告知义务的履行及证明
〖提要〗 行政机关在作出罚没具有较大价值财产的处罚决定前,应当向行政相对人告知其有申请听证的权利。行政相对人放弃陈述和申辩权利不能推定其放弃听证权利,行政机关仍应当履行听证告知义务。行政机关内部管理系统自动生成的处罚告知笔录应当经行政相对人签字或捺印,否则不能证明其已实际履行听证告知义务。 〖案情〗 原告:房长孝 被告:上海市公安局边防和港航公安分局(原上海市公安边防总队边防支队) “兴
舷灯夜话 |
海的女儿
旧时代航海界的迷信 当今,女子戴着大盖帽,身穿海员制服,英姿飒爽地站在航船的驾驶台上,已不足为奇。可是旧时代女子不但没有航海的缘分,而且受到歧视。 古罗马时代,西欧航海界认为世界是由火、水、气、土四种元素组成的,女性属水,阴性,所以女性上船,船要出危险,因为水跟水对冲了。当时的女子不要说当海员,就连进入造船厂都不被允许,也就是说看看都不行。许多西方国家禁止女巫师和其他女人进造船厂,认为,否则的
海事风采 |
“苏启渔运08022”长江口搁浅 “东海救204”火速救援10人
2021年8月26日14:00许,“苏启渔运08022”轮在长江口北槽附近水域搁浅,船上10名船员遇险,亟须救援。 接到险情信息后,交通运输部东海救助局立即启动应急救助预案,指派近岸双体快速救助艇 “东海救204” 轮紧急赶赴现场施救。 15:52,“东海救204”轮抵达事发海域,救助人员通过评估后,决定采用释放救助艇接救方式展开救援。经过两轮紧急接救,“东海救204”轮于16:14成功将10
航海技术 |
主流船型船用配套设备智能集成与 远程运维新模式研究
摘 要:在新时代信息技术和制造业全球化深度整合的行业发展变革大趋势下,推进我国船舶配套产业智能化的转型升级,对于打造具有竞争力的国产船舶配套品牌产品,实现我国交通强国、海洋强国战略具有重要的意义。本文在分析船舶配套设备智能运维概念的基础上,系统介绍了智能运维的核心技术,分析了智能节点和大数据的应用模式,最后基于工业物联网架构,提出了面向船舶机舱设备安全的应用案例,并讨论了多种运维模式下的船用配套
航海技术 |
船舶舾装件智能化仓储模式构建
摘 要:针对国内船厂舾装件仓储空间利用率低、依靠人工管理等问题,本文梳理仓储对象范围、从硬件和软件构成、信息流通机制等方面设计舾装件智能化仓储模式,以提高仓库空间利用率、管理运行效率和部门协同管理能力。 关键词:舾装件;智能化仓储;模式 0 引 言 舾装件分为自制件、外购件和外协件,主要包括拉手、扶手、踏步、栏杆、栏杆门、平台、直梯、斜梯、盘梯(梯子扶手),钢质门、钢质窗,人孔盖、小舱口盖
航海技术 |
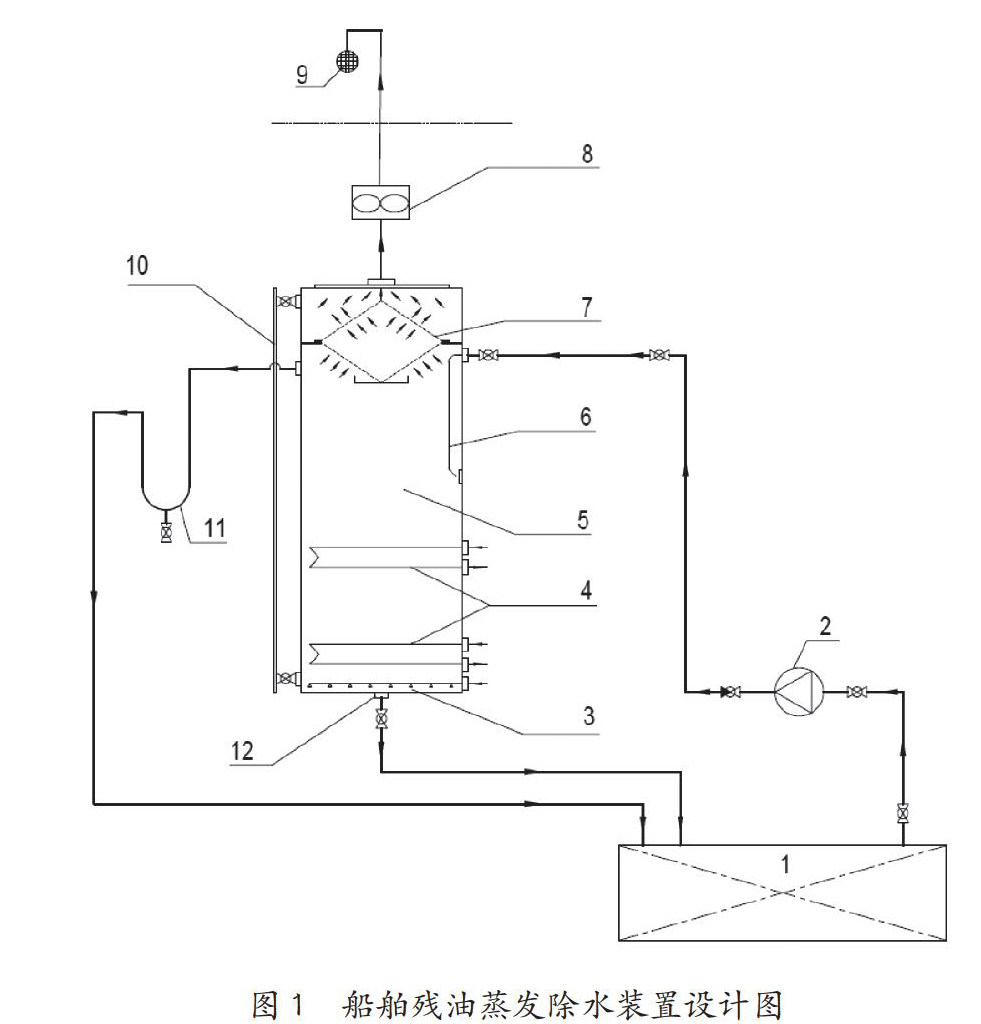
一种船舶残油蒸发除水装置设计方案
摘要:船舶的残油处理需要符合《国际防止船舶造成污染公约》的要求,保证海洋环境安全。文章介绍了船舶残油处理的相关措施,给出了一个具体的船舶残油蒸发除水装置设计方案,并论证了设计方案的可行性。采用该设计可以安全、有效地将船舶残油中的大量水分蒸发掉,较大地减少船舶残油存量。基于此,船舶在采用焚烧、驳运或排岸接收等方式处理残油时,可显著节省成本。 关键词:船舶;残油;蒸发柜 0 背 景 国际防止船舶
航海技术 |
船舶油污水提标改造深度处理工程实例
摘 要:广东广州某油污水工程有限公司原有一套设计规模为20万m3/a的废水处理系统,现要求设计水量为30万m3/a,出水水质要求达到COD≤50 mg/L,氨氮≤8 mg/L,BOD5≤10 mg/L,其他指标执行广东省地方标准DB44/26-2001《水污染排放限值》中第二时段一级排放标准。设计采用“预处理+臭氧高级氧化+MBR生化”处理工艺对原有处理系统出水进行深度处理。实际运行结果表明,出
航海技术 |
一种释放船用焊接筋板内应力的装置设计
摘 要:根据船舶建造过程中小组立焊接流水线性能特点及背烧工艺流程,分析应力释放装置性能要求,从结构布局、传送辊道系统、背烧火焰行走机构、系统实施方式、控制保护功能等多个方面对筋板内应力释放装置进行设计,保证装置设计方案的可行性。 关键词:船舶建造;焊接;应力释放;背烧 0 引 言 根据国内大型船厂调研结果,船舶建造过程中,底板为平板的小组立结构件占15%~20%。小组立焊接生产属于船舶建造
航海技术 |
大深度大吨位打捞用托底钢梁设计
摘 要:针对300 m水深的大深度大吨位沉船打捞,国家重点研发计划深海专项《大吨位沉船整体打捞关键技术研究与装备研制》项目对原应用于浅海区域的托底钢梁进行了重新设计。在“世越”号打捞工程中,托底钢梁取得了巨大成功,但是该类型的托底钢梁只能适用于浅海水域。本文对应用于大深度的托底钢梁进行了设计。在打捞大深度大吨位沉船时,提升装置的钢丝绳连接到托底钢梁两端的眼板上。该打捞方法作用载荷不会直接作用于沉
航海技术 |
引航船舶失控成因的统计分析 及防控对策
摘 要:对江阴大桥至上海宝山水域近十年来发生的引航船舶失控案例进行统计分析,探究引航船舶失控发生成因,提出船舶操纵注意事项,达到预防船舶失控发生的效果,同时针对船舶失控类型提出应急处置要点,形成船舶失控前与失控后的闭环管理,为引航安全管理提供借鉴。 关键词:船舶失控;发生成因;防控对策;应急处置 0 引 言 近年来,在长江狭水道曾发生多起造成或可能造成严重经济损失的船舶失控事件,如:中国籍
航海技术 |
引航员在大型集装箱船碰撞码头及设施事故中应吸取的教训
摘 要:近几年来,大型集装箱船碰撞码头及设施事故频发,这里既有船方的原因,也有引航员的原因,更多的是驾驶台资源管理的原因。本文通过若干起事故的简单介绍,分析集装箱船大型化及操纵特点,提出引航员应吸取的教训。 关键词:大型集装箱船;碰撞;集装箱桥吊;码头;驾驶台资源管理;教训 0 引 言 目前,在国际航运贸易中,有超过60%的普通货物采用集装箱船运输,使其成为国际贸易不可或缺的手段和保证国际
航海技术 |
关于上海港引拖协作相关问题的深入探讨与解析
摘 要:本文主要针对上海港引拖协作过程中出现的相关问题进行深入探讨,并且作出了详细解析。引拖协作是未来船舶大型化及智能化趋势下必然的港航操纵模式,我们需要改变传统观念,与时俱进,共同维护港航安全,助力强港梦。 关键词:引拖协作;引航员;驾驶台资源管理;港航安全 0 引 言 众所周知,上海港是中国第一大港口,地处长江入海口南岸,每天进出口船舶数量较多,通航密度非常大,船舶往往需要在狭小的空间
航海技术 |
黄浦江船舶流管控影响分析
摘 要:为进一步加强黄浦江水域通航秩序管理,优化黄浦江通航环境,根据《中华人民共和国海上交通安全法》《上海黄浦江通航安全管理规定》等法律法规,结合进出黄浦江船舶流特点,上海海事局、上海市交通委员会联合对黄浦江水域实施船舶流的交通管理并加强防治污染监管。笔者以上海海事局、上海市交通委员会联合发布的《关于进一步加强黄浦江水域通航安全管理的通告》实施前后船舶流量变化为切入点,对近年来黄浦江通航流量进行
航海技术 |
船舶VSAT与网络安全研究
摘 要:VSAT为船舶提供了价格相对低廉、上网速度比较快的卫星通信服务,受到船舶所有人和船员的青睐。目前提供VSAT宽带卫星通信业务的通信公司很多,实力和服务水平也参差不齐。同时,该系统是非GMDSS系统,缺少统一的规范标准,这样给船舶网络安全带来了一定的风险,因此在使用该网络的同时,也必须充分考虑到这些风险,做好防范工作,在享受VSAT带来便利的同时,避免遭受网络攻击,确保船舶营运安全。 关
航海技术 |
巴生港引航员新冠病毒检测 呈阳性应急处置实务
摘 要:“中远海运×××”轮进靠马来西亚巴生港,2名引航员登轮工作,后接代理、租家调度微信通知,其中一名引航员的新冠病毒检测呈阳性。本文结合亲身经历,总结船舶启动疫情防控应急预案,成功化解了疫情危机的经验,供同行借鉴。 关键词:进港靠泊;引航员;新冠病毒检测;疫情防控应急预案 1 基本情况 2021年4月26日,13:18(+8区),“中远海运XXX”轮进马来西亚巴生港,巴生港2名引航员上
航海技术 |
某轮拖缆机缆绳张力显示故障分析与排查
摘 要:拖缆机主要用于拖带没有自航能力或失去自航能力的船舶和海上设施,是救助船舶的重要设备,在历次救助拖带任务中发挥了关键的作用。准确的缆绳张力显示可以直观判断缆绳受力情况,本文主要介绍某轮拖缆机缆绳张力显示故障分析与排查过程,供参考。 关键词:拖缆机;滚筒;缆绳;动态;张力 0 引 言 某专业救助船舶配备了新加坡ZICON公司生产的AHTW-200-200-01型液压拖缆机。该拖缆机有上
航海技术 |
主机转速表指针抖动故障的排除
摘 要:燃油供给、电控单元、电磁信号发生器均会造成柴油机转速不稳。柴油机的转速不稳会导致振动,不正常的磨损也将产生。轮机管理人员应仔细检查,分析故障,及时解决问题。 关键词:主机;转速表;高压油泵 1 故障现象 集装箱船“MSC CHALLENGER” 轮,船龄21 a,主机型号:MAN B&W 7K80MC-C。 备车离港时,发现集控室主机的转速表指针有些抖动。检查了机舱机旁的
海事信息 |
世界上最大的风力货船 “Oceanbird”号
“Oceanbird(海洋鸟)”号是瑞典创新技术公司开发的一种货船概念,运输汽车和卡车。它利用风能为动力在公海航行。该货船使用5个垂直排列的262 ft伸缩翼将排放量减少约90%。该货船被设计成11 mph的速度,可运载7 000辆汽车。此外,当有狂风时,“Oceanbird”号船将会展开空气动力机翼。据瑞典创新技术公司称,“Oceanbird”号船将能够在12 d内横渡北大西洋。 (刘昭青
海事信息 |
现代重工将尝试LNG 运输船无人操纵航行
韩国现代重工集团表示,将于今年晚些时候在超大型液化天然气运输船(LNGC)上尝试无人操纵的处女越洋航行,依靠Avikus Corp.公司所开发的现代智能导航辅助系统(HiNAS)2.0运作。该运输船长300 m,拟首航太平洋或印度洋。 这艘船将是世界上第一次二等级自主型越洋航行,这是指根据国际海事组织(IMO)4级船舶自主系统其船上配有船员的遥控船舶。据全球市场研究者联合市场研究机构信息,预计到
海事信息 |
三菱造船与TotalEnergies 合作开发LCO2运输船
日本三菱造船与法国能源巨头TotalEnergies公司进行可行性研究,以开发LCO2运输船。LCO2运输船在将CO2从其排放源输送至储存设施供利用方面起着关键作用。CO2捕获、利用和储存作为实现脱碳化的有效手段,正引起全世界的关注。 三菱造船正在积极寻求LCO2运输船的商业化。MHI集团通过集中三菱造船建造LPG和LNG运输船积累的先进气体处理技术,以及三菱重工工程的CO2捕获技术,为构建跨越
海事信息 |
日本开发潮流驱动智能 浮标收集海洋数据
日本长崎大学和京瓷公司联合开发了一种智能监测浮标,其利用潮流产生自己的能量,用于持续的海洋数据收集。该智能浮标结合了长崎大学的潮流发电技术和京瓷公司的物联网相关技术,能够利用自身产生的能量来收集海洋环境数据。在潮汐周期的大潮至低潮期间,科研人员进行了为期9 d的试点测试,使用21个传感器来收集加速度、温度、流速和流向等数据,然后将这些数据传输到云端。在实验期间,智能浮标平均发电量达到16.3 Wh